機台介紹
切斷機
1. 機台介紹:
BOSCH GCO 2000
Cutting disc diameter:355mm
Cutting discs width:3mm
Rated power input:2000w



Lock-off button for On/Off switch(固定按鈕)
On/Off switch(開關)
Handle
Retracting blade guard
Spindle lock
Cutting disc
Angle stop
Clamping spindle(用於夾住材料)
Quick-release button
Spindle handle
Mounting holes
Base plate
Locking screw for angle stop(用於調整固定角度)
Ring spanner (15 mm; 13 mm)
Transport safety-lock(安全插銷)
Depth stop
Tool arm
Transport handle
Blade guard
Spark guard
Tool spindle
Clamping flange
Washer
Hexagon bolt
Lock nut of the depth stop
ASAHI CM-14
2. 用途:
用來切割棍狀的材料,能切金屬和木頭
3. 操作說明:(以 BOSCH GCO 2000為例)
使用前,需要先確認輪盤運轉的切線方向不得有人
在輪盤停止時拉開後方插銷(#15),將停止的輪盤往上方拉
將材料夾入小虎鉗內,並轉動螺栓鎖緊(先把#9往上扳開,大約確定後,再轉動#10夾緊材料)
壓下按鈕(#2)後,將輪盤下壓即可
停止使用時,務必將插銷置回原位
4. 注意事項:
使用前紅色插銷記得拔起來,用完要插回去
使用後,輪盤的溫度會很高,在冷卻前請勿觸碰輪盤
5. 操作技巧:
若要切斜的,可以用隨附的工具,鬆開#13的螺絲,調整到想要的角度再鎖緊即可
若要連續切割,先按住(#2),在按下(#1),(#2)就會維持被按下的狀態
不得配戴手套使用
手持砂輪機
1. 機台介紹:
BOSCH GWS 750-100

輸入功率:750W
額定轉速:11000次/分
最大砂輪直徑:125mm
工具尺寸(寬度):73mm
工具尺寸(長度):270mm
工具尺寸(高度):100mm
重量:1.8kg
2. 用途:
具適合在金屬和石材上進行切割、粗磨以及刷磨
在石材上進行切割時,必須安裝合適的吸塵裝置
裝上適用的磨具後,也可以使用本電動工具進行砂紙研磨
3. 操作說明:(以BOSCH GWS 750-100為例)
打磨:

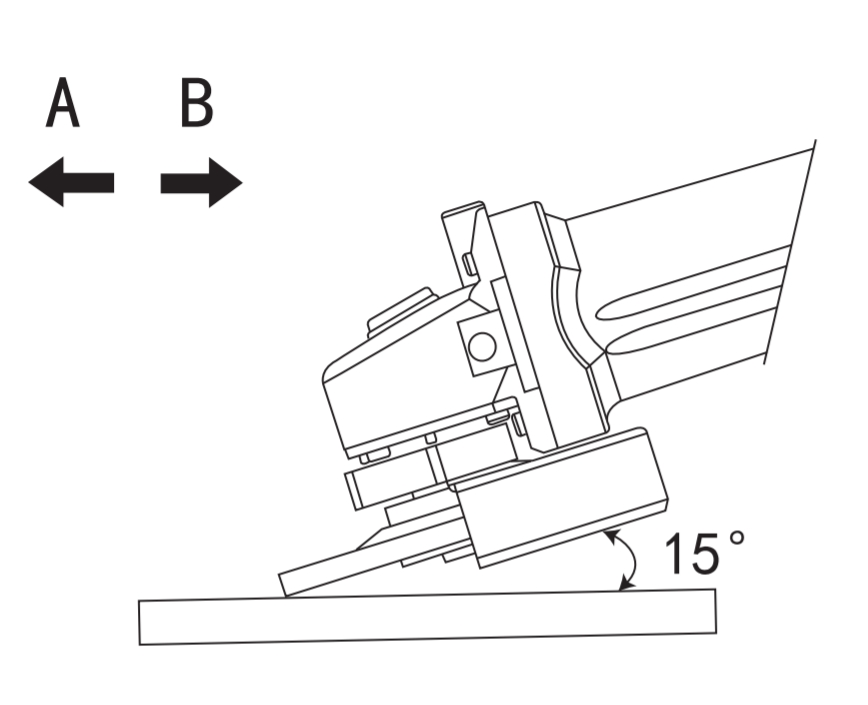
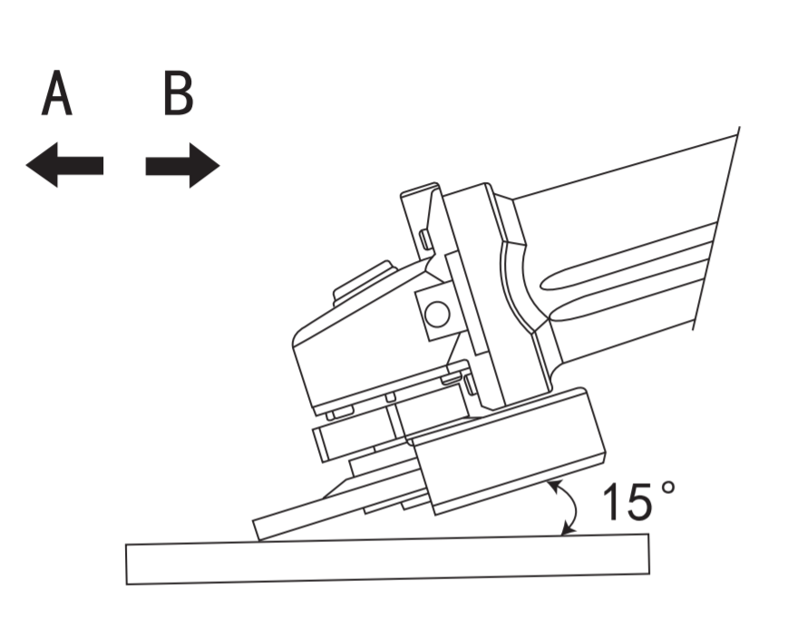
砂輪磨片與物品保持15度左右的角度,部分接觸,效果最佳
為避免火花及磨屑射到身上,可根據磨片旋轉方向,選擇適當方式持機
操作時,請施加輕力,使機身前後移動
新砂輪磨片的磨合期間,請盡量沿著B方向移動,以免砂輪磨片切入物品中
等砂輪磨片邊緣在使用中磨圓後, 方可沿A或B方向任意操作
切割:

切割時,磨片與物品切割面垂直,切角才會漂亮乾淨
操作工具時必須注意切割方向,推動工具的方向必須與工具旋轉方向相反
更換砂輪磨片:
先壓住紅色按鈕,再順時針轉動磨片直到扭緊快速螺母

用隨附的板手把中間的金屬圓環卸下後,即可更換磨片

4. 注意事項:
打磨金屬時會產生火花,在火花散射範圍內,請勿放置任何可燃物料,以免火災
切割角落時,要注意避免零件彈出
不得配戴手套使用
5. 操作技巧:
手持砂輪機優勢在於機動性,==若需要切得更漂亮,建議使用切斷機==
砂輪機
1. 機台介紹:
ASAHI MD-200
功率:375W
電壓:110V
砂輪尺寸:8吋(200x20x16mm)
迴轉速度:3450(轉/min)
2. 用途:
大多用在金屬加工,像是磨短螺絲之類的
也可用於裁切光軸等等
3. 操作說明:(以ASAHI MD-200為例)
按下電源(紅色按鈕)前,請注意陶瓷輪盤運轉的切線方向不能有人
若輪盤在高速運行時有噪音,請盡速關閉電源
輪盤有慣性,通常在輪盤有一定速度時,即可關閉電源,進行研磨可以不用讓它持續待在高速運轉
研磨時,手必須緊緊握住材料,且小心別讓手被捲入輪盤
若研磨的是金屬材料,有火花屬正常現象
4. 注意事項:
注意陶瓷輪盤運轉的切線方向不能有人
在輪盤完全停止前,請勿碰觸輪盤
砂輪磨片如果有裂痕就必須更換
不得配戴手套使用
5. 操作技巧:
==輪盤運轉時整個機台會左右晃,可用手或重物壓住中間==
電鑽跟充電式電鑽
1. 機台介紹:
ASASI HR28 DRE
輸入功率:900W
鎚擊能力:3.2J
震動率:0-4000BPM
額定速率:0-1350r/min
重量:3.1KG
2. 用途:
通常用於在木材、金屬、塑膠上開孔或用於擰緊或擰鬆螺絲
3. 操作說明:(以ASASI HR28 DRE為例)
中間的旋鈕有三個檔位:從12點鐘順時針方向依序是==單純轉動、轉動加震動、單純震動==
把手上方有調整正反轉的功能,若調到中間就是停止
按下開關再按下固定按鈕後,可讓電鑽持續運轉
4. 注意事項:
鑽頭鬆緊一定要選用合乎規格型式的扳手
在啟動電鑽開關前,電鑽一定要握牢
電鑽不用時或更換鑽頭時應先關掉電源再放下
收工時鑽頭應先卸下
對鑽頭施壓,力量要適中,力量太大可能折斷鑽頭或降低鑽頭運轉速度,太小則鑽頭容易磨損
==在快鑽穿時,壓力一定要輕,以便順利穿孔==
鑽削小型工作物時,工件應用夾具固定,絕不可用手握持鑽削
鑽頭可以更換
鑽孔範圍
混凝土:4-28 mm
石材:68 mm
鋼材:33 mm
木材:30 mm
5. 操作技巧:
更換鑽頭方式:握住黑色接還處往後拉即可拿下鑽頭,新鑽頭直接插進去卡住即可
砂帶機
1. 機台介紹:
REXON BD-46A
砂帶 / 尺寸(吋):4×36″
砂帶 / 速度(m/分):400
砂盤 / 直徑(吋):6″
工作台尺寸(mm):160×225
ASAHI MM491G
2. 用途:
可用於木材或金屬加工
磨短材料、磨平切口
3. 操作說明:(以REXON BD-46A為例)
使用前先確認紅色按鈕上有插入黃色的安全插銷(若未插入安全插銷則機器將無法使用)
現場應已預設為適合木料使用
角規擋板:
角規擋板從左側溝槽放入
鬆開旋鈕調整至指定角度再拴緊旋鈕
傾斜工作臺面:
轉鬆工作台兩側固定旋鈕
依左側指針,調整檯面至傾斜角度
再鎖緊固定旋鈕
務必按壓工件於工作檯面上,以避免晃動
取下工件前,請務必將機台電源關閉
4. 注意事項:
不得配戴手套使用
平台為欲使用角度
確認轉速和材料配合妥當
材料越硬,轉速應越低(詳見機台後上方之轉速表)
東西磨到一半會燙,建議壓一下起來一下
粉塵極多,建議配戴護目鏡、口罩
裝上工作台時注意不要太靠近圓形砂輪

5. 操作技巧:
圓形砂輪旁的工作檯可卸下,若要把工作台裝回去,先將工作台的棍子插入機台後方的孔,再用隨附的板手將螺絲鎖緊
將工件輕抵在砂紙盤面朝工作平台運行處進行研磨,但如果位置不對,花更大力氣也可使用

要更換砂帶時,將長形平台旁邊的黑色把手扳到另一邊即可讓砂帶放鬆

砂光機
1. 機台介紹:
TG 250/E
打磨速率:250 - 750 m/min
磨砂盤(Abrasive disk)直徑:250 mm
噪音等級:72dB
機台大小:330 x 280 x 230 mm
使用電壓:110 V / 60 Hz
消耗功率:200 Watt

Speed controller(調整圓盤轉速)
On/off switch(總開關)
Working table(工作檯面,放置材料的地方)
Angular limit stop clamping bolt(固定6.的螺栓)
Angular limit stop(角規擋板,將材料貼齊此處)
Angular limit stop scale(可水平旋轉,改變材料與14.之間的角度)
Housing
Mains cable(接電源)
Spigots for duct extract unit(可連接吸塵器以除塵)
Clamping bolt for working table adjustment(固定11.的螺栓)
Working table adjustment scale(調整3.和14.之間的角度
Indicator needle
Protective cover(避免手直接碰到圓盤的保護蓋)
Disk sander disk with abrasive disk(圓盤)
Spigots for cooling unit
Spigots for coolant pipes
2. 用途:
可準確地打磨材質表面
用於磨短材料、磨平切口
可用在木材加工或打磨金屬
3. 操作說明:(以TG 250/E為例)
使用前先確認平台為欲使用的角度
使用前先確認轉速和材料配合妥當
打開砂光機的開關
用Speed controller調整圓盤轉速
小心將材料放置於工作檯面
對材料施加力量以對抗轉盤施加於材料的力
4. 注意事項:
務必按壓工件於工作檯面上,以避免晃動
此機器產生粉塵極多,建議配戴護目鏡、口罩
取下材料前,請務必將機台電源關閉
不得配戴手套使用
5. 操作技巧:
注意到轉盤外側比內側的轉速快
轉盤為逆時針方向,因此將材料置於桌面左側
正式使用前先拿試用的材料確認機台運作情形
材料越硬,轉速應越低,詳見機台後上方之轉速表,現場應已預設為適合木料使用
將材料輕抵在砂紙盤面朝工作平台運行處進行研磨,但如果位置不對,花更大力氣也可使用
角規擋板:角規擋板從左側溝槽放入,鬆開旋鈕調整至指定角度再拴緊旋鈕,可改變材料的水平角度
傾斜工作臺面:轉鬆工作台兩側固定旋鈕,依左側指針,調整檯面至傾斜角度,再鎖緊固定旋鈕

鑽床
1. 機台介紹:
TB131

使用電壓:110 V
鑽洞深度:木材24mm,金屬13mm
轉速(50Hz時):570,890,1300,1900,2670 rpm
轉速(60Hz時):690,1070,1560,2280,3200 rpm
長度:580 mm
重量:20 kg
工作台大小:160x155 mm
消耗功率:350 Watt
K0806

2. 用途:
可在木材或金屬材質表面打洞,但應選取不同鑽頭 (參見操作技巧)
3. 操作說明:(以TB131為例)
用挾持板手將鑽頭鎖緊在電鑽夾頭上
利用後方旋鈕調整工作檯面至適當高度,並鎖緊把手
鑽頭對準鑽孔中心,定位後再開啟電源
固定深度鎖孔:將機台左側深度螺帽旋轉置所需要的深度即可
斜角鎖孔:用板手鬆開平台下方螺絲,對照刻度將平台旋至目標高度,再將螺絲鎖緊、固定平台
4. 注意事項:
鑽頭和板手請向工作人員領取,使用完也請務必歸還
鑽頭若出現未鎖緊或偏離旋轉軸的現象應立即停止操作
工作平台需妥當鎖緊
材料需用手或夾子牢牢固定於工作台
鑽金屬材料時請用特定的鑽頭且需使用中心衝
勿在鑽頭與材料接觸時開啟或關閉電源
使用完請將鑽頭與板手交還給工作人員
5. 操作技巧:
鑽孔孔徑較大時,請先用半徑較小的鑽頭鑽孔
安裝鑽頭時可以輕微搖動鑽頭確定已正確垂直置入電鑽夾頭
可在待加工材料的下方多墊一層相同材質的材料在鑽穿時,鑽孔處比較不會變醜或裂開
使用細鑽頭時轉速需調快(換皮帶調整轉速)
要鑽的平面離鑽頭約2~3公分
下圖中,上面和下面分別為鑽木頭和金屬的鑽頭

若材料太小不方便手持,可使用虎鉗夾輔助
帶鋸機
1. 機台介紹:
BS10KA

使用電壓:110 V ,50Hz
消耗功率:550 Watt
鋸帶速度:230/760 m/min
ASAHI BS1001
2. 用途:
大多用在切割板材、塊材等等
只能切直線
不能用來切割任何金屬
3. 操作說明:(以BS10KA為例)
若無開關插銷,請向工作人員領取
確認鋸條張力是否適當,旋轉上方把手,讓指標在4和5之間
輕彈鋸條確認聲音是否清脆
確認工作平台角度正確
根據切割尺寸確認擋板位置與角度
4. 注意事項:
帶鋸機僅能切削木材與木製品
使用前, 請先檢視鋸帶是否確實懸掛在傳動輪上, 鋸齒方向是否朝外朝下
請使用正確規格之鋸帶, 勿使用已毀損鋸帶
操作時請勿用手碰觸鋸帶及切斷後鋸帶
機器未停止前勿伸手拿取切斷之工件
請勿切割面積過於窄小的工件, 避免造成危險
離開機器前, 請先確定機器運作已經完全停止, 或拔除電源
清理工作臺前, 請先拔除電源線或關閉電源
若現場有集塵器,務必開啟
手切勿放在鋸調會經過的路徑上
結束切割時請拔除電源,並將鬆緊把手的指針調到1
5. 操作技巧:
切割時向下施力讓材料緊貼平台
先啟動鋸條,再進行切割
材料推進的速度不可太快,否則可能會卡住
==若需要切口平整,帶鋸機的效果會比線鋸機理想==
線鋸機
1. 機台介紹:
28092_DSH
消耗功率:205/410 Watt
電壓:110 V
噪音等級:<70 dB
機器尺寸:53 x 27 x 33 cm
工作台大小:360 x 180 mm

Adjusting knob for saw blade tensioning(調整鋸子張力)
Saw blades holder, top(與10一起撐住鋸子)
Saw blade(鋸子)
ON - OFF – switch(總開關)
Stroke rate adjusting knob
Clamping screw for the inclination of the work table(可調整工作台傾斜角度)
Foot made of cast steel(底座)
Air nozzle(空氣噴嘴)
Saw table(工作台)
Saw blade holder, bottom(與2一起撐住鋸子)
Drill holes for attachment screws
Storage compartment for saw blades(儲物格)
Connection for vacuum cleaner(可連接吸塵器)
Network cable
Induction motor(馬達)
Saw arm (top)
Saw blade guard
2. 用途:
可用來切割厚度小於5mm的木板材,或是厚度小於3mm的塑料板材
可以切出彎彎的切口
3. 操作說明:(以28092_DSH為例)
確認線鋸鋸條安裝妥當
確認平台為欲切割角度
確認速度和材料配合妥當
確認材料厚度於限制內
根據切割尺寸確認擋板位置與角度
4. 注意事項:
使用斜面切割時將調整角度處的旋鈕轉鬆,調整完也要記得再將它轉緊
切割時,務必施力將工件平貼於平台上,以避免晃動
==推進材料的速度不能太快,以避免鋸條斷裂==
斜著切時,木板材厚度需小於3mm
5. 操作技巧:
請輕彈鋸條,發出高頻聲音即可使用,若鋸條太鬆或太緊,請轉動後上方圓柄,太緊時要彈很大力才有些微聲音
慢速適合切較硬的材料,快速適合切較軟的材料
若需要切口平整,帶鋸機的效果會比線鋸機理想
圓鋸機
1. 機台介紹:
Makita 2704
使用電壓:120 V
No Loading Speed:4800/min
平台大小:567mm x (753mm~1066mm)
重量:28 kg
外觀

調整把手(調整刀片深度及角度)

GTS1031

2. 用途:
裁切適合大小木板
3. 操作說明:(以Makita 2704為例)
調整刀片深度(順時針轉,刀片會向上移動)

調整刀片角度
將1所指的手把逆時針轉動解鎖
轉動3所指的轉盤調整刀片角度,2所指的箭頭會顯示刀片和平台的夾角
記得將步驟1的手把轉回去,並確定鎖緊

拉出子平台
將左圖中1所指的把手同時向下壓
將右方子平台拉出即可


調整防裂柵欄
將2所指的把手向上推
移動柵欄位置後,確定1所指的鉤子在軌道上,即可將把手向下壓緊

打開開關

4. 注意事項:
調整機台時,請確保開關關上
將刀片的高度調整為略高於木板的厚度
切割較長木板時,切割後的部分應在下方放置支撐
5. 操作技巧:
當刀片左邊空間足夠時切割木板的姿勢
如圖,左手施力向右,讓木板抵住柵欄

當刀片左邊空間不足時切割木板的姿勢
如圖,可用推桿將木板往前推

熱風槍
1. 機台介紹:
GHG 660 LCD
輸入功率:2300 w
重量:0.97 kg
工作溫度:50~660℃
大小:255mm x 255mm
外觀

2. 用途:
產生熱風
控制溫度風速準確
可用來吹熱縮套管,或提供彎折塑膠的熱源
3. 操作說明:(以GHG 660 LCD為例)
操作面板

按P鍵可以在四個不同的溫度間切換
3號鍵是開關
調整溫度、風量
按9號可以調整當前模式的溫度
按8號可以調整當前模式的風量
在按10號鍵約5秒後就設定完新的模式
4. 注意事項:
使用後的熱風槍頭溫度很高,小心燙傷
5. 操作技巧:
操作面板朝下可以將熱風槍直立
空壓機
1. 機台介紹:
SWAN DRS-210-22
馬達:1.0 hp
工作氣壓:7 bar
大小:635 mm x 294 mm x 585 mm(長x寬x高)
重量:26 kg
氣缸容量:22 liter
噪音值:68 dB
外觀

空壓機開關和氣閥

氣壓表

調整氣壓旋鈕

去除水氣裝置

2. 用途:
噴砂
填充槍
打釘機
吹氣清潔
噴漆
輪胎充氣
3. 操作說明:
打開開關
調整氣壓
打開氣閥
4. 注意事項:
使用後記得將氣閥關上
若汽缸內氣體容量不足時,可接上電源
不要對眼睛噴氣
使用一段時間後會累積水氣,可打開去除水氣裝置下方的開關1~2秒
手持式吸塵器
1. 機台介紹
BOSCH GAS 18V-li
外觀

電池電壓:18 V
強力吸塵器
無線
2. 用途
如圖

3. 操作說明
如圖

4. 注意事項
定期清濾網
要記得充電
Last updated
Was this helpful?





